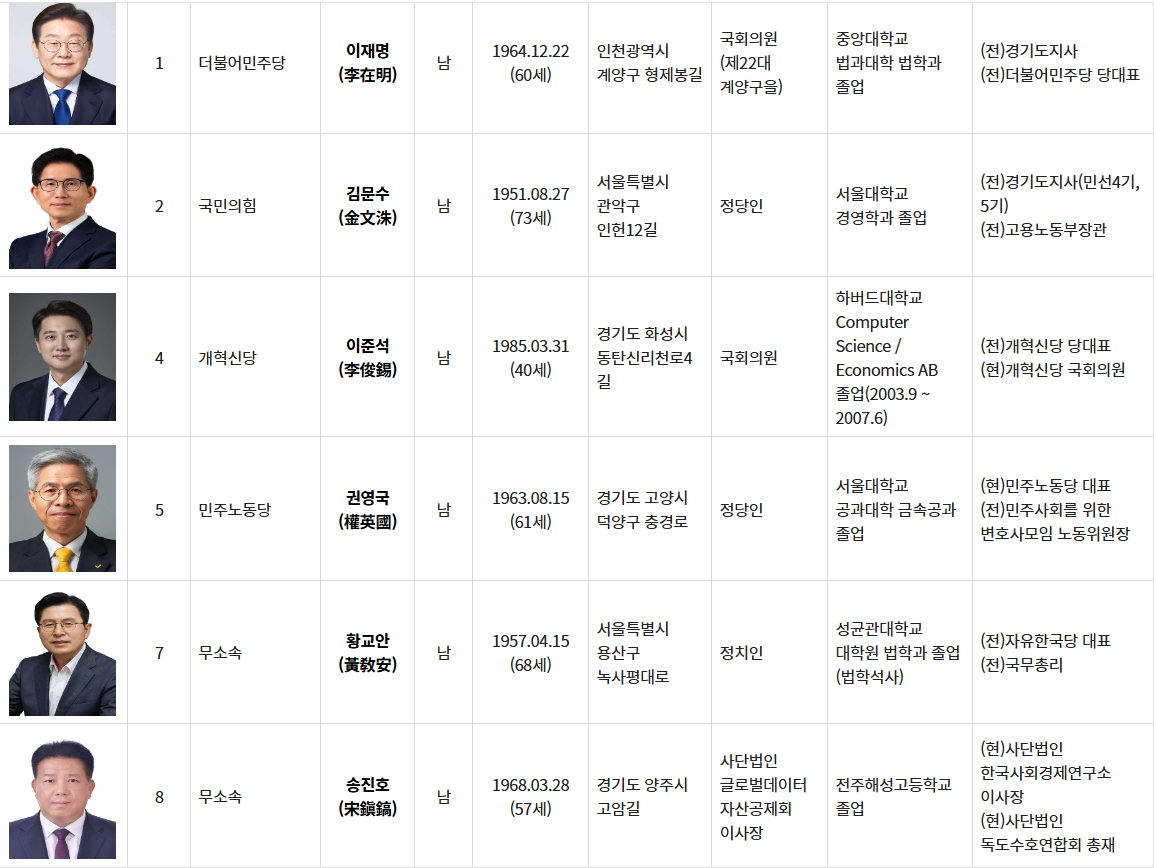
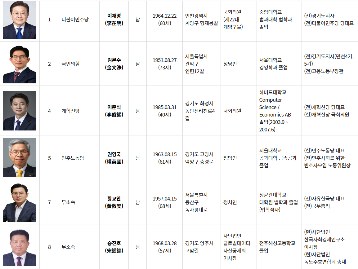
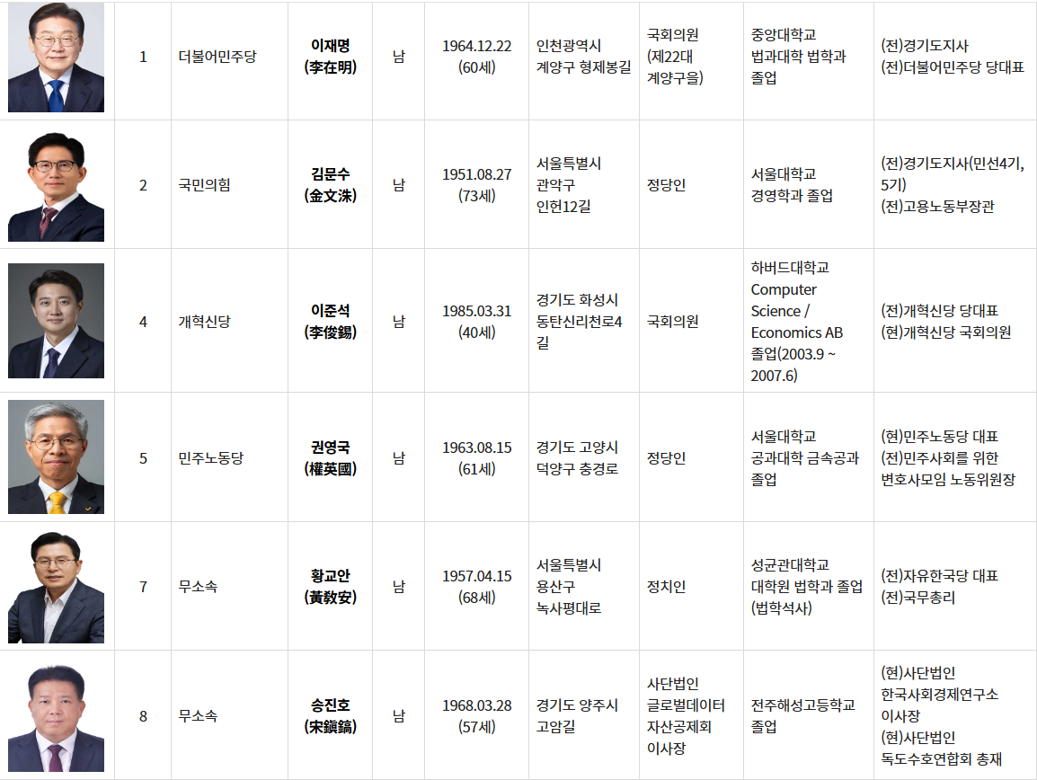
다가오는 2025년 조기 대통령 선거를 앞두고, 사전투표에 대한 관심이 높아지고 있습니다. 바쁜 일정이나 개인 사정으로 선거 당일 투표가 어려운 분들을 위해 사전투표는 훌륭한 대안이 될 수 있습니다. 이번 포스팅에서는 사전투표의 일정, 장소, 시간, 준비물 등 꼭 알아야 할 정보를 한눈에 정리해 드리겠습니다. 소중한 한 표를 행사하기 위한 준비, 지금 시작해볼까요?
1. 사전투표 일정과 시간
2025년 조기 대통령 선거의 사전투표는 5월 29일(목)과 5월 30일(금), 이틀간 진행됩니다. 투표 시간은 오전 6시부터 오후 6시까지로, 총 12시간 동안 운영됩니다. 이 기간 동안 전국 어디서나 사전투표소를 방문하여 투표할 수 있습니다. 바쁜 일정으로 선거 당일인 6월 3일(화)에 투표가 어려운 분들은 사전투표를 통해 소중한 한 표를 행사하시기 바랍니다.
2. 사전투표소 찾는 방법
사전투표소는 주민등록지와 관계없이 전국 어디서나 이용할 수 있습니다. 아래 방법을 통해 가까운 사전투표소를 쉽게 찾을 수 있습니다.
| 방법 | 설명 |
|---|---|
| 중앙선거관리위원회 홈페이지 | ‘내 투표소 찾기’ 서비스를 통해 시·군·구를 입력하여 확인 |
| 포털 검색 | 네이버, 구글 등에서 ‘사전투표소 위치’ 검색 |
| 지자체 홈페이지 | 해당 시·군·구청 홈페이지에서 확인 가능 |
| 지도 앱 활용 | 네이버 지도, 카카오맵 등에서 ‘사전투표소’ 검색 |
3. 사전투표 시 준비물
사전투표를 위해서는 본인을 확인할 수 있는 신분증이 필요합니다. 아래 리스트를 참고하여 준비해 주세요.
- 주민등록증, 여권, 운전면허증, 공무원증, 국가기술 자격증(산업인력공단), 각급학교의 학생증(사립학교 포함)
4. 사전투표 절차 안내

사전투표는 간단한 절차로 진행되며, 누구나 쉽게 참여할 수 있습니다. 아래 표를 통해 사전투표 절차를 확인해보세요.
-
단계 설명 1. 투표소 방문 가까운 사전투표소에 방문합니다. 2. 신분증 제시 신분증을 제시하여 본인 확인을 받습니다. 3. 투표용지 수령 본인 확인 후 투표용지를 받습니다. 4. 기표소에서 기표 기표소에 들어가 원하는 후보자에게 기표합니다. 5. 투표지 투입 기표한 투표지를 투표함에 넣습니다.
5. 사전투표 시 유의사항
사전투표를 할 때 아래 사항들을 꼭 유의하시기 바랍니다.
-
- 신분증은 반드시 지참해야 하며, 없을 경우 투표가 불가능합니다.
- 투표소 내에서는 사진 촬영이 금지되어 있습니다.
- 기표할 때는 한 후보자에게만 기표해야 하며, 중복 기표 시 무효 처리됩니다.
- 기표소 안에서는 휴대전화를 사용하지 마시고, 조용히 투표를 진행해주세요.
- 투표용지를 접을 때는 기표 내용이 보이지 않도록 주의해주세요.사전 투표소 찾기
중앙선거관리위원회 선거통계시스템
선거통계시스템 작업 안내 선거통계시스템의 안정적 서비스를 위한 서버점검 작업으로 일부서비스가 원활하지 않을 수 있음을 알려드립니다. ☞ 작업일시 2023. 9. 26.(화) 18:00 ~ 9. 27.(수) 09:00
info.nec.go.kr
6. 자주 묻는 질문(FAQ)
- 사전투표에 대해 자주 묻는 질문들을 정리해보았습니다.
-
- Q: 사전투표는 어디서 할 수 있나요?
A: 전국의 사전투표소에서 가능합니다. 주민등록지와 관계없이 가까운 사전투표소를 이용하시면 됩니다. - Q: 사전투표 시 신분증 외에 다른 준비물이 필요한가요?
A: 신분증만 지참하시면 됩니다. 별도의 준비물은 필요하지 않습니다. - Q: 사전투표와 본투표의 차이점은 무엇인가요?
A: 사전투표는 선거일 전에 미리 투표하는 것이며, 본투표는 선거일 당일에 투표하는 것입니다. 절차는 동일하지만, 사전투표는 전국 어디서나 가능하다는 점이 다릅니다. - Q: 사전투표를 한 후 본투표일에 다시 투표할 수 있나요?
A: 아니요. 사전투표를 한 경우 본투표일에 다시 투표할 수 없습니다. 1인 1표 원칙에 따라 중복 투표는 불가능합니다. - Q: 모바일 신분증도 사용 가능한가요?
A: 네, 정부24 앱이나 PASS 앱을 통한 모바일 신분증도 사용 가능합니다. 단, 캡처 화면은 인정되지 않으며, 실시간으로 앱을 실행하여 확인받아야 합니다. - Q: 사전투표소는 어떻게 찾을 수 있나요?
A: 중앙선거관리위원회 홈페이지나 모바일 앱에서 '내 투표소 찾기' 서비스를 이용하여 확인하실 수 있습니다.
2025년 조기 대통령 선거는 우리나라의 미래를 결정짓는 중요한 순간입니다. 바쁜 일상 속에서도 소중한 한 표를 행사하는 것은 우리의 권리이자 의무입니다. 사전투표를 통해 보다 유연하게 투표에 참여할 수 있으니, 미리 준비하여 소중한 권리를 행사하시기 바랍니다. 여러분의 한 표가 더 나은 대한민국을 만드는 데 큰 힘이 됩니다.
- Q: 사전투표는 어디서 할 수 있나요?




